曾经我以为,一年注册5000多商标,
已经足以称得上“壕”
直到我看到珠海Z老板!
一天5000多个,又一天又5000多个!
我真的错了,图傻,图天真!


2018年6月27日,
刚刚成立一个多月的某典公司,
一天之内,申请了5060件商标!
故事可能是这么开始的~
2018年5月2日某典公司成立,
在6月份的27号这一天,
Z老板突然心情大好,
做点什么生意好呢?
玩个什么游戏好呢?
花多少钱才过把瘾呢?
正好一个电话☎️打来,
注商标!哎,这个游戏不赖啊!
小伙子,商标多少钱一个啊,注的多有优惠吗?
500一个够优惠不?
成交!
注5000个先!马上转账2500000元!
好勒!注5000个送您60个,一共5060个,您数数:
请看大屏幕:
故事并没有结束,精彩还在继续:
2018年5月2日应该是一个不平凡的日子,
这一天Z老板除了成立某典公司外
还成立了某冠公司
27号也注定是个不平凡的日子
6月份27号心情大好,注了5000多商标,
经过了一个月,激情已然渐消~
7月份27号这一天,Z老板再次心情大好!
再唠十块钱的!啊不,
再注5000个商标玩玩!
要说哪个代理人小伙魅力四射谈判能力惊人有三头六臂申报速度光速呢?
花开两朵,各表一枝~
夸一夸6月一天申报5000个商标的代理人小伙:
见贤思齐,看看人家的代理人,
苦逼的你你你,向上图学习去吧
只见那代理人小伙人勤话不多,三下五除二,
赶在7月27日太阳下山之前
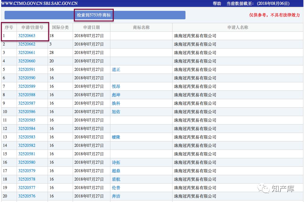
一天之内提交了5753个商标!
那是相当厉害了!


Z老板果然爽快!5000个,再次转账2500000元!
代理人小伙也不含糊:注5000个送您753个!
一共5753个,您数数~
请看大屏幕:
人比人该死,货比货该扔,
看看人家,多壕气!🐂🐂🐂
那才叫申请人!那才叫代理人!
要说我啊,两天花完5000000?
不存在的!除了买房买车,我一天能想到100个商标名字已经了不起了!
贫穷再次限制了我的想象力!
没有评论:
发表评论